
Column type stand.
Characteristics- Chrome-plated stand and hardened stainless steel base.
Height adjustment ringnut, 360° rotating arm and dual locking lever (of the arm and comparator).
Function
Variations
Code
Dial gauge coupling mm
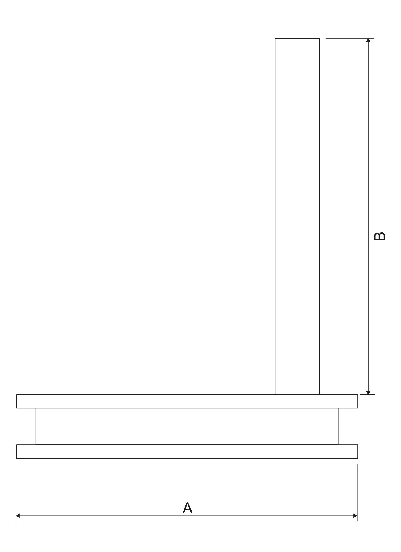
A mm
B mm
Micro regulation
CD050200
Dial gauge coupling mm
8
A mm
100 x 150
B mm
ø 30 x 220
Micro regulation
5,860
Request information
Fill in the fields below to get information about this product


