Calibro per saldature ALPA
Caratteristiche- Accuratezza ± 0,4 mm
- Accuratezza ± 0,7°
- Risoluzione 0,1 mm
- Struttura in acciaio inox
- Per la misura di raccordi e gocce
Funzioni
Variazioni
Codice
Campo mm
Graduazione
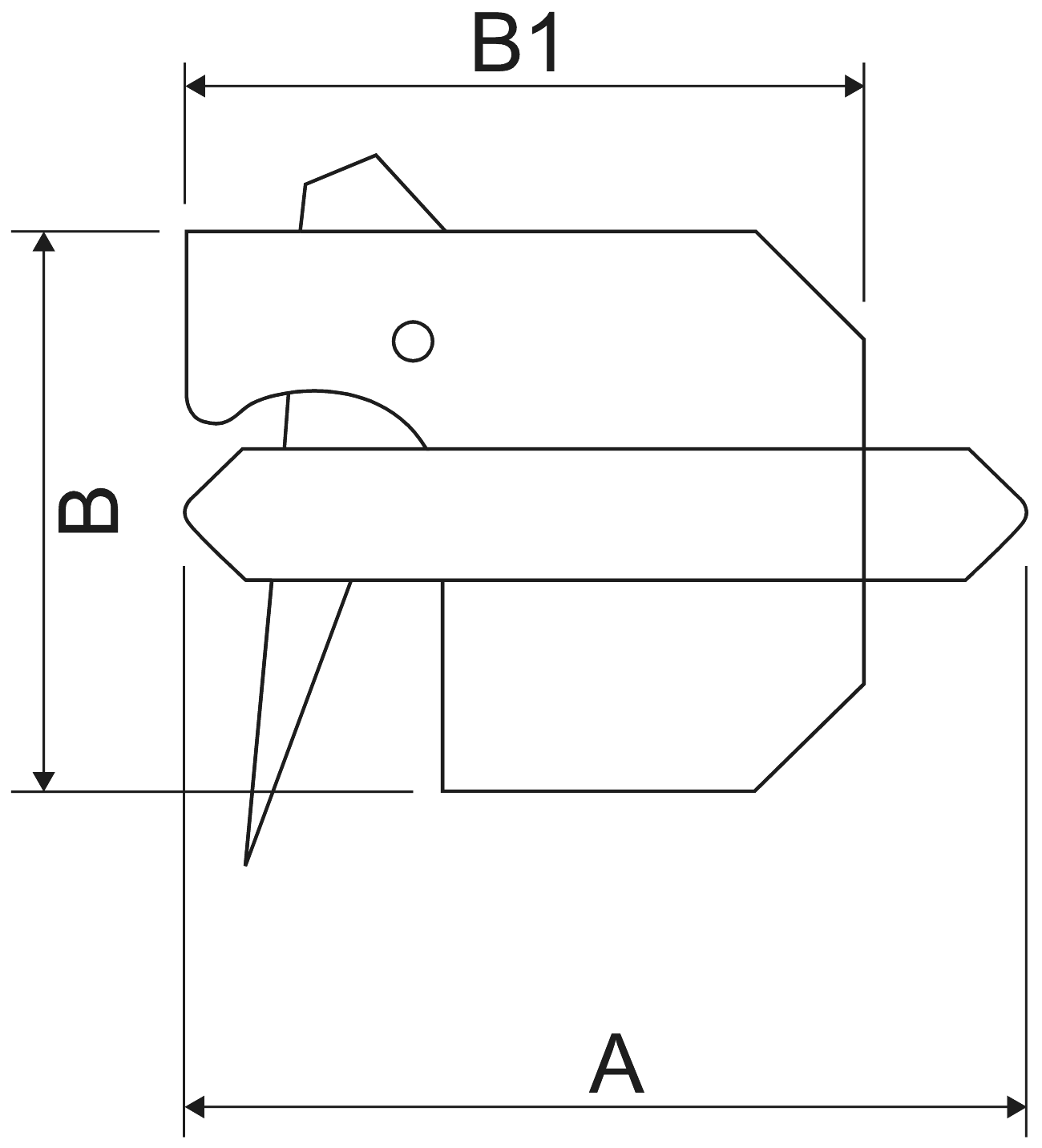
A mm
B mm
B1 mm
Peso g
AB15110
Campo mm
0 ÷ 10
Graduazione
0° - 60°
A mm
70,5
B mm
46,8
B1 mm
56,8
Peso g
80
Richiedi informazioni
Compila i campi sottostanti per avere informazioni riguardo questo prodotto

