Ponte mobile per calibro di profondità ALPA
Caratteristiche- Ponte mobile per calibro di profondità codice AA054
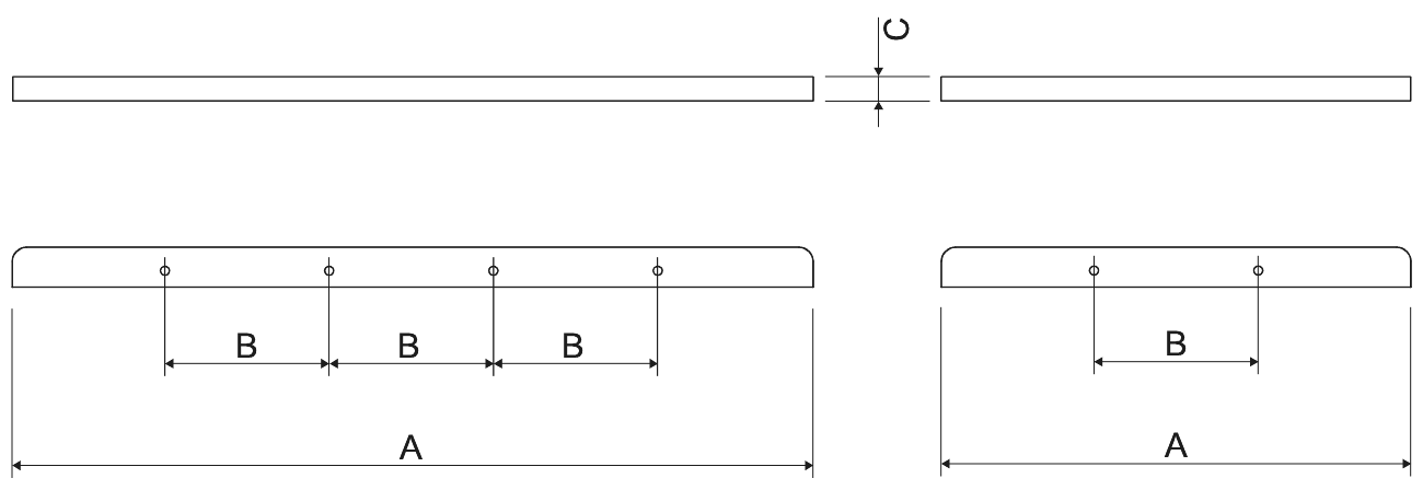
Variazioni
Codice
A mm
B mm
C mm
Filettatura
ACC10200
A mm
200
B mm
70
C mm
8
Filettatura
M4
230
ACC10320
A mm
320
B mm
70
C mm
8
Filettatura
M4
350
Richiedi informazioni
Compila i campi sottostanti per avere informazioni riguardo questo prodotto

