Porta comparatore a colonna ALPA
Caratteristiche- In acciaio temprato e rettificato
- Piano di verifica a tavola fissa
- Braccio orizzontale 75 mm
Variazioni
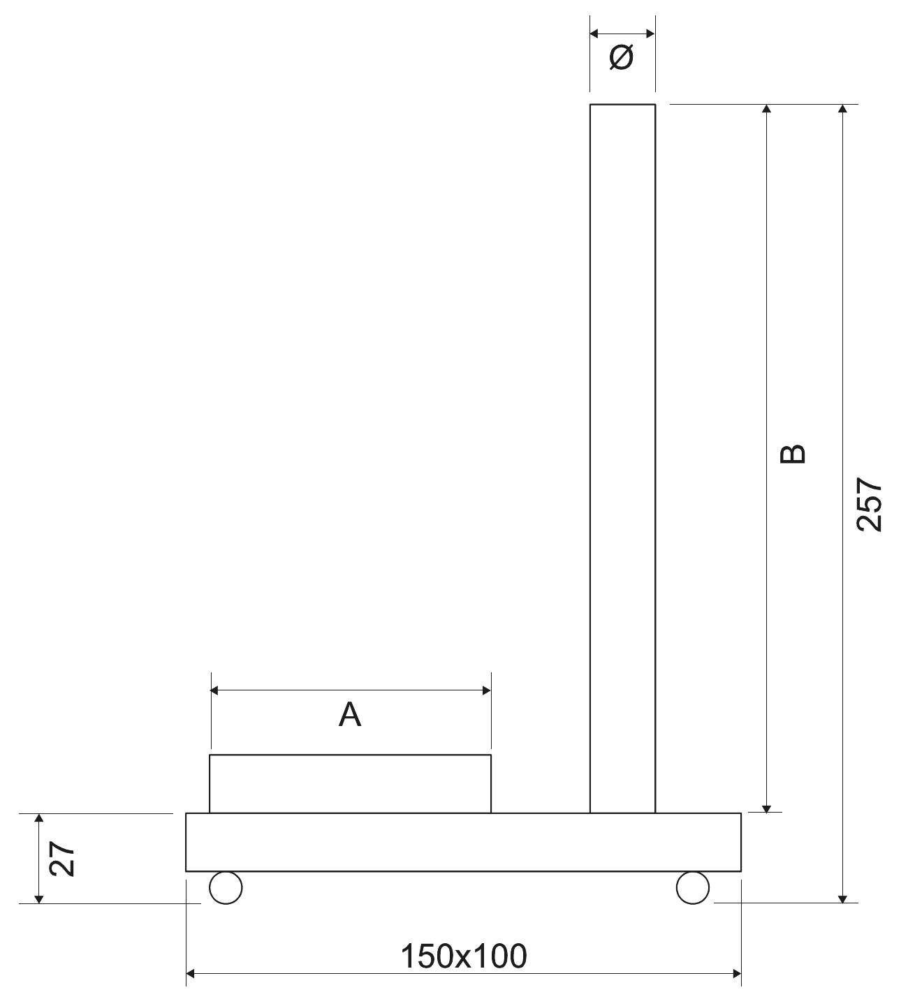
Codice
Ø mm
A mm
B mm
CD02770
Ø mm
25
A mm
ø 78
B mm
230
Richiedi informazioni
Compila i campi sottostanti per avere informazioni riguardo questo prodotto

