Forcella a comparazione ALPA
Caratteristiche- Contatti in metallo duro
- Arco verniciato
- Acciaio inox temprato
- Corsa dell’incudine mobile 3 mm
- Ideale per il controllo di pezzi cilindrici quali alberi e per misure di spessori e lunghezze
- Comparatore con gambo Ø 8 mm da ordinare separatamente
Funzioni
Variazioni
Codice
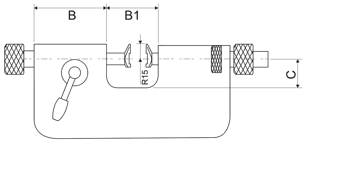
Campo mm
B mm
B1 mm
C mm
BB07340
Campo mm
0 ÷ 40
B mm
33
B1 mm
62
C mm
32
BB07390
Campo mm
40 ÷ 90
B mm
33
B1 mm
112
C mm
62
BB073140
Campo mm
90 ÷ 140
B mm
33
B1 mm
162
C mm
85
BB073190
Campo mm
140 ÷ 190
B mm
33
B1 mm
212
C mm
110
Richiedi informazioni
Compila i campi sottostanti per avere informazioni riguardo questo prodotto

