
Arm for dial indicator holder ALPA CD019
Characteristics- Arm for dial indicator holder ALPA CD019
Function
Variations
Code
Description
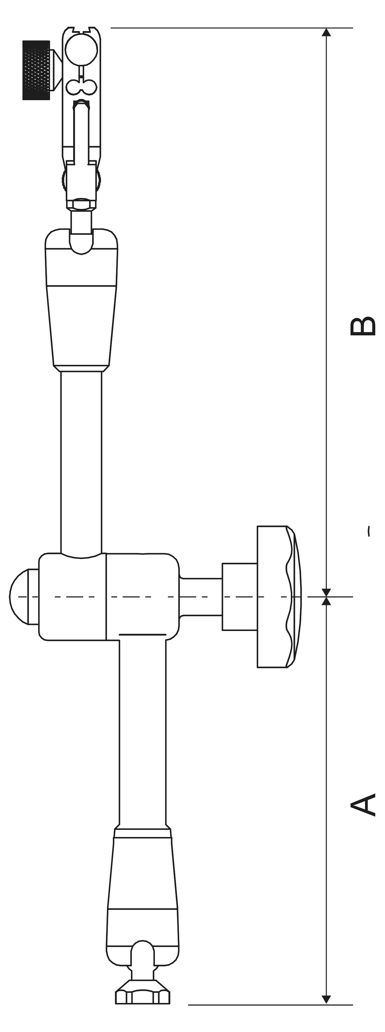
A mm
B mm
Holding capacity kgf
CD019BR
Description
Arm for dial indicator holder
A mm
Arm for dial indicator holder
B mm
196
Holding capacity kgf
100
Request information
Fill in the fields below to get information about this product