Digital instrument for internal measurements of bores and walls IP54 ALPA BA390
Characteristics- Resolution 0,01 mm.
Preset Sylvac electronics.
Description
– LCD display
– mm/inch conversion
– Resolution 0.01 mm
Function
- ON/OFF:
- Zero
- Preset
- ABS
- Sleep
- Hold
- mm/inch
Variations
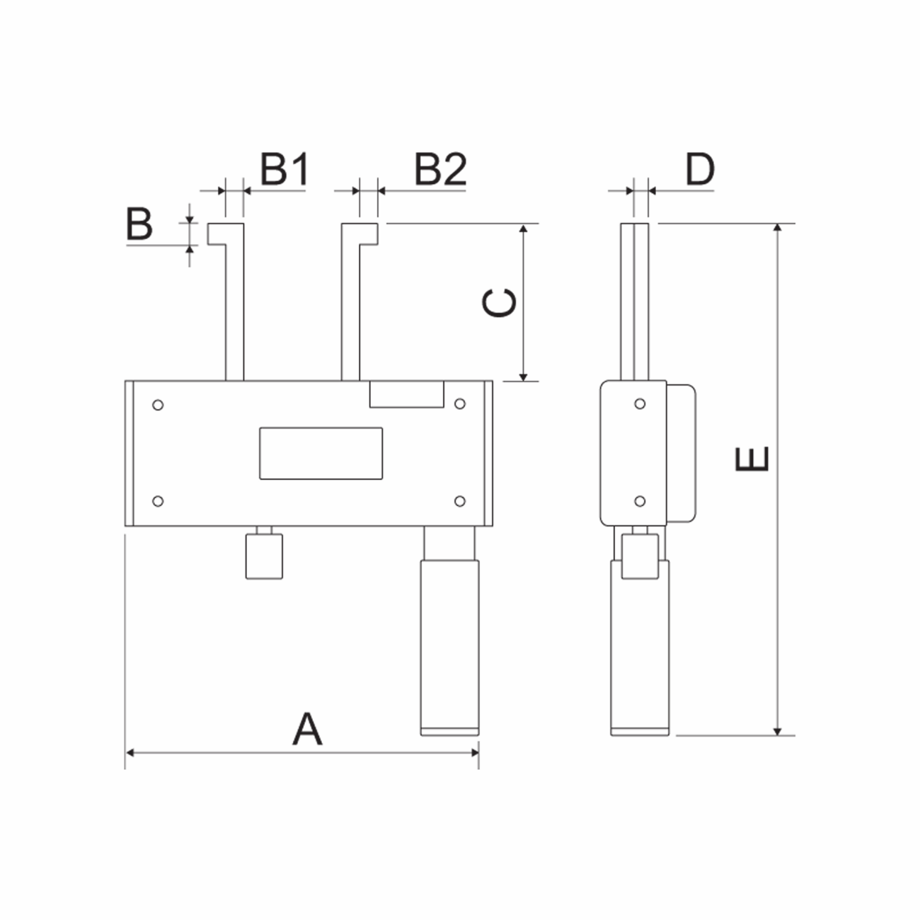
Code
Range mm
Accuracy mm
Max Run mm
A mm
B mm
D mm
B1 mm
B2 mm
C mm
E mm
BA39050
Range mm
22 ÷ 114
Accuracy mm
± 0,01
Max Run mm
25
A mm
50
B mm
45
D mm
35
300
B1 mm
3,5
B2 mm
300
C mm
50
E mm
150
Request information
Fill in the fields below to get information about this product

